自动提升机
详细介绍

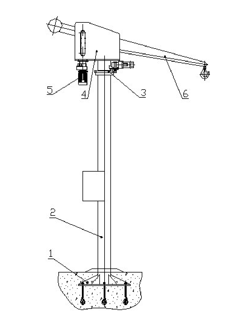
自动甑盖提升机,实现了甑盖的自动化动作,利用现代机械装备,只需一键操作就能自动完成揭盖及复位动作,降低了操作人员劳动强度,比目前的手动设备更节省工作空间。其易操作性、高安全性和高防腐性能特别适合酒厂生产现场对设备的要求;
适应性强,安装位置、升降距离和旋转角度可调, 设备晃动小,甑盖和接酒管回位准确,360°自由定位;
动作快速,在安全的前提下尽量减少运行时间,电动升或降1米行程时间为10秒,电动旋转120度时间为10秒,全行程完成时间约12秒;
可靠耐用,电机和减速器采用知名品牌,保证产品质量;结构通过耐久试验,机械循环寿命大于10年*365天/年*8次/天,耐酒蒸汽、耐高温,每台设备出厂前都经过数千次的动作测试;
噪音低、无污染,全密封式的脂润滑,不会污染生产环境;
降低劳动强度,操作只需按动一个按钮,起盖、盖甑、对位和放接酒管,全过程只需一人单手即可轻松完成。

相关标签:自动化仪表
上一篇:没有了
下一篇:没有了
下一篇:没有了




